Ширкати MICROSOFT гузаронидани тадқиқотҳоро бо усулҳои нав оид ба пурзӯр намудани ҳамкорӣ бо девайсҳо идома медиҳад.
Қаблан Microsoft Research усулҳои навро барои ҳамкорӣ бо смартфонҳову планшетҳо пешниҳод намуда буд, имрӯз бошад ширкати софтверии бузург мехоҳад ҷиддан технологияи даровардани матнро бо воситаи нигоҳ мукаммал намуда, онро патентнок созад.
Одатан ҳангоми ҳуруфчинӣ бояд тугмачаи муайян пахш карда шавад, гарчанде ки он экрани сенсорӣ бошад ва чӣ тугмачаи муқаррарии ПК.
Аммо на ҳама вақт бо даст чидани матн қулай аст. Масалан, дар вақти фишурдани ҳарф дар экрани калони смартфонҳо, ки рӯ то рӯз андозаи он ба 6 дюйм расида истодааст, дастгоҳҳои 5 дюйма бошад аллакай меъёри муқаррӣ ба ҳисоб меравад. Ин хусусият имконият медиҳад, ки ба паёмҳо ҳатто ҳангоми ҳаракат намудан, бо як даст ҷавоб диҳед.
Техникаи мавҷуд будаи даровардани матн бо воситаи нигоҳ кори истифодабарандаро осон мекунанд. Одатан ҳангоми чидани ҳарф мо вақти зиёдеро сарф мекунем.
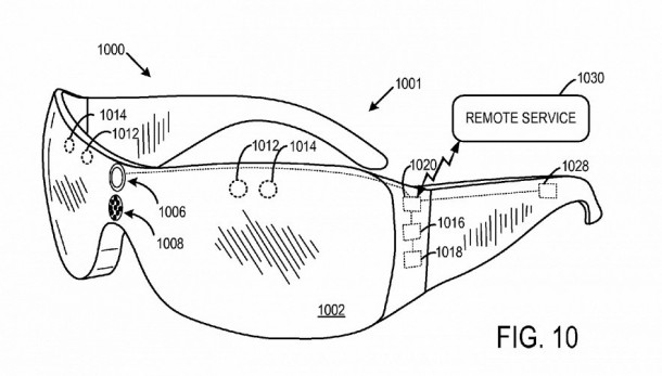
Microsoft системаеро, ки каме ба клавиатураи Swype монандӣ дорад, пешниҳод мекунад. Тафовути асосӣ дар он аст, ки одам бо нигоҳаш ба клавиатура ишора мекунад. Система бошад, ҳамаи ҳаракатҳои чашмонро ба хотир мегирад. Баъди ба итмом расидани ҷараёни даровардани матн, система онро таҳлил намуда, дар асоси тарҷумон вариантҳои мувофиқро ҷустуҷӯ менамояд. Илова бар ин, система натанҳо роҳ, балки ҳар як ҳарфҳоро дар алоҳидагӣ таҳлил мекунад, то ки ба хатогӣ роҳ надиҳад. Система ба ғайр аз дарориши калима, ҳамчунин ибораи пурраро дар назар дорад, ки ба суръати даровардани матн таъсири мусбӣ мерасонад. Ба ғайр аз ин система имконият медиҳад, ки якчанд калимаҳо дароварда шаванд. Баъдан аз байни онҳо метавон заруриашро интихоб кард.
Сенсорҳои баландэҳсос метавонанд дар худи дастгоҳи дарориш-экрани телевизор, смартфон, планшет, ҷойгир карда шаванд. Ҳамчунин бо ойнакҳо якҷоя карда шаванд. Мумкин аст, ки сенсорҳо мувофиқаткунонида шаванд, ин имконият медиҳад, ки кори даровардани матн ва таҳлили он осонтар гардад. Худи ойнакҳо бошанд, метавонанд ба ҳайси дастгоҳи дарориш хизмат кунанд.
Чунин усули даровардани матнро наметавон олӣ ном бурд. Аммо ин тадбир имконият медиҳад, ки дарориши матн на танҳо дар девайсҳои калон, балки дар гаҷҷетҳои хурд истифода бурда шавад. Айни замон онро бо овоз якҷоя сохта истодаанд. Масалан, дар ойнакҳо ва смарт-соатҳо ин чизро мушоҳида кардан мумкин аст. Ҷоизи қайд аст, ки технологияи мазкур, нисбат ба талаффузи кардани матни дилхоҳ бо овози баланд, қулайтар буда, он ба атрофиён халал намерасонад. Ҳамчунин дарориши матн метавонад, кори одамони имкониятҳояшон маҳдудро осон кунад. Аммо аз хотир набояд фаромӯш сохт, ки патентнок кардани он дар дастгоҳҳои тиҷорӣ, вақти зиёдро талаб хоҳад кард. Зеро на ҳамаи технологияҳои патентнокшуда, ба муваффақият ноил гардиданд.
Сарчашма: matrix-tv.tj





Зур
Рахмат
Клавиатура бехтарин
Бехтарин
Бисёр Ачоиб
ба ман писанд омад, ин маълумоти ачоиб!!!
дар хакикат имруз техналогия хело пеш рафтааст, ки имруз ихтиротхои нав ба навро мо мебинем
ин хам як ачоибот аст
технология пеш рафта истодааст хеле хуб